Description
BendPak HD-9SW-E 9,000 Lb. Capacity, Extra Wide 4-Post lift
9,000-lb. Capacity / Four-Post Lift / Dual Platform / EXTRA WIDE
To accommodate super-wide vehicles on a 9,000-lb. capacity four-post lift, choose the HD-9SW. The “SW” stands for super-wide, and it’s the ideal four-post lift to double your parking and/or service wider vehicles.
Features
- Standard rise.
- Shorter runway for smaller spaces.
- Runways accommodate wide or narrow vehicles.
- Runways include rail kit for optional accessories.
- Electric / hydraulic power system.
- Single hydraulic cylinder mounted underneath runway.
- Fully enclosed lifting cables, safety locks and sheaves.
- Internal anti-sway slider blocks in each column.
- Oversized self-lubricating cable rollers.
- Oversized sheave diameter reduces cable fatigue.
- High-speed lifting.
- Features heavy-duty 3/8" aircraft cable.
- Rugged 1.25" roller axles.
- Multi-position safety locks in each column.
- Adjustable lock ladders.
- Runways feature non-skid surface.
- Push-button pneumatic safety release.
- Independent backup slack-cable safety latches.
- Inside runways adjust for different tread widths.
- Customizable power unit location.
- Removable approach ramps for additional drive-under clearance.
- Optional drive-thru ramps available.
- Optional drip trays available.
- Optional solid deck available to increase storage capacity.
- Optional 4,500-lb. air / hydraulic rolling jacks available.
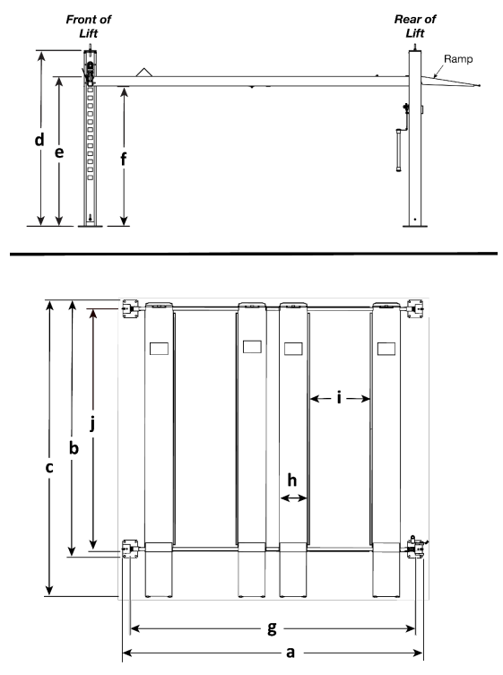
Specifications
| Model | HD-9SW-E | |
| Lifting capacity | 9,000 lbs. / 4,082 kg | |
| A | Overall width | 249.60" / 6,339 mm |
| B | Outside length | 174" / 4,418 mm |
| C | Overall length | 200.5" / 5,095 mm |
| D | Post height | 90" / 2,282 mm |
| E | Maximum rise | 77" / 1,957 mm |
| F | Maximum lifting height | 72.3" / 1,836 mm |
| G | Distance between Posts | 238" / 6,046 mm |
| H | Runway width | 19" / 482 mm |
| I | Width between Runways | 34.30" min. – 41" max. 871 mm – 1,039 mm |
| J | Runway length | 164.5" / 4,178 mm |
| Min. wheelbase @ rated capacity | 115" / 2,921 mm | |
| Min. wheelbase @ 75 capacity | 100" / 2,540 mm | |
| Min. wheelbase @ 50 capacity | 85" / 2,159 mm | |
| Min. wheelbase @ 25 capacity | 70" / 1,778 mm | |
| Locking positions | 14; spaced every 4" / 102 mm | |
| Lifting time | 55 seconds | |
| Motor | 220 VAC / 60 Hz / 1 Ph |
*Specifications subject to change without notice.

Optional Accessories (*Sold separately)
![]() | ![]() | ![]() | ![]() | |||
| WSA-100 | Plastic Drip Trays | Rolling Jacks | Sliding Jack Platform |
WARNING: California Prop 65
Downloads
**Bendpak charges taxes to California**
***It is the buyer's responsibility to unload the freight at their location.
Videos
Videos Hide Videos Show Videos
Warranty Information
- Free Shipping:
- Yes
Reviews




